8 (925) 663-83-63Call-центр
пн-вс: 10:00-19:00
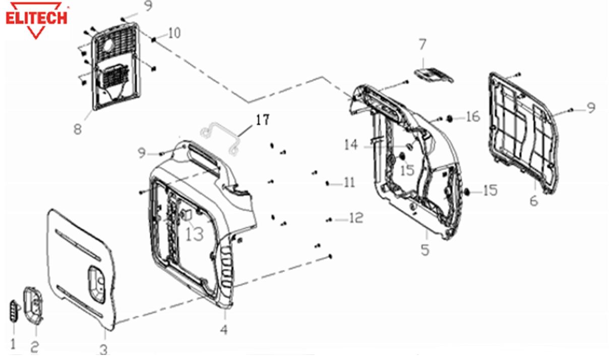
| N | Артикул | Название | Срок отгрузки | Цена | Купить |
| 1 | 0103.059400 | Рукоятка стартера ручного | – | ||
| 2 | 0103.053600 | Накладка крышки (правой) | – | ||
| 3 | 0103.053700 | Крышка корпуса (левая) | – | ||
| 4 | 0103.053800 | Корпус (левый) | – | ||
| 5 | 0103.053900 | Корпус (правый) | – | ||
| 6 | 0103.054000 | Крышка корпуса (правая) | – | ||
| 7 | 0103.054100 | Крышка свечи зажигания | – | ||
| 8 | 0103.054200 | Крышка корпуса задняя | – | ||
| 9 | 0103.054300 | Винт M5х12 мм | – | ||
| 10 | 0103.054400 | Клипса | – | ||
| 11 | 0103.054500 | Шайба стопорная | – | ||
| 12 | 0103.054600 | Винт самонарезающий | – | ||
| 13 | 0103.054700 | Демпфер | – | ||
| 14 | 0103.054800 | Демпфер | – | ||
| 15 | 0103.054900 | Виброизолятор бака топливного (резиновый) | – | ||
| 16 | 0103.055000 | Виброизолятор бака топливного (резиновый) | – |
| Найдено товаров: 16 |
|
8 (925) 663-83-63 Call-центр
пн-вс: 10:00-19:00
| Введите номер заказа |
| Введите номер своего заказа, что бы узнать его текущий статус. Что бы получить доступ к расширенным функциям, пройдите не сложную регистрацию. Зарегистрироваться |