8 (925) 663-83-63Call-центр
пн-вс: 10:00-19:00
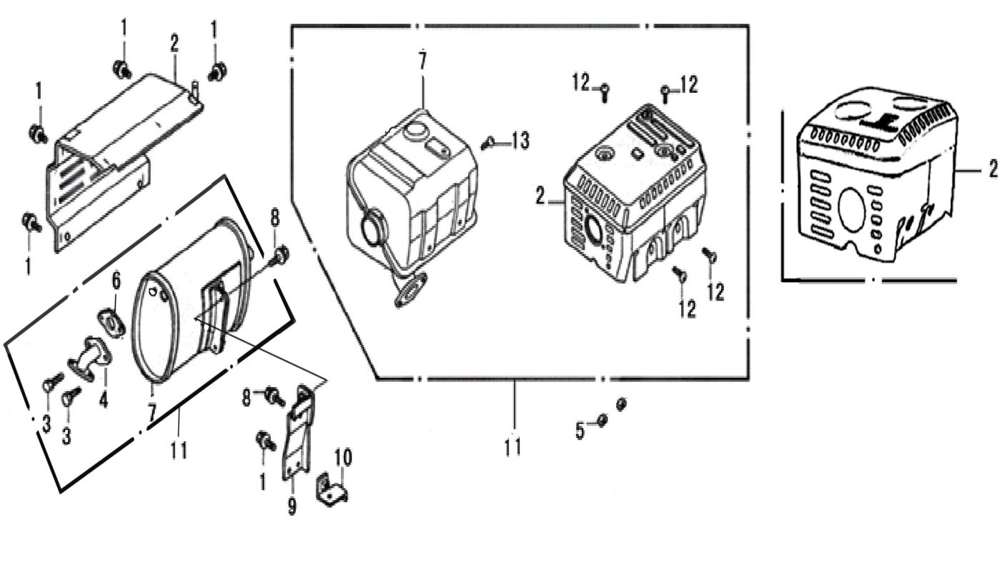
| N | Артикул | Название | Срок отгрузки | Цена | Купить |
| 1 | 0101.035500 | Болт фланцевый M6х12 мм | – | ||
| 2 | 0101.035700 | Кожух глушителя защитный | – | ||
| 3 | 0101.035800 | Болт фланцевый M8х10 мм | – | ||
| 4 | 0101.035900 | Коллектор выпускной | – | ||
| 5 | 0101.036000 | Гайка M8 | – | ||
| 6 | 0101.036100 | Прокладка трубы выпускного коллектора ,БЭС 2500Р,117075-144000 | 108 р. | ||
| 7 | 0101.036200 | Глушитель | – | ||
| 8 | 0101.036500 | Болт фланцевый M6х18 мм | – | ||
| 9 | 0101.036600 | Кронштейн крепления глушителя | – | ||
| 10 | 0101.036700 | Кронштейн глушителя | – | ||
| 11 | 0101.036800 | Глушитель в сборе | – |
| Найдено товаров: 11 |
|
8 (925) 663-83-63 Call-центр
пн-вс: 10:00-19:00
| Введите номер заказа |
| Введите номер своего заказа, что бы узнать его текущий статус. Что бы получить доступ к расширенным функциям, пройдите не сложную регистрацию. Зарегистрироваться |